ABI HVR 30
Updated: 07.05.2026
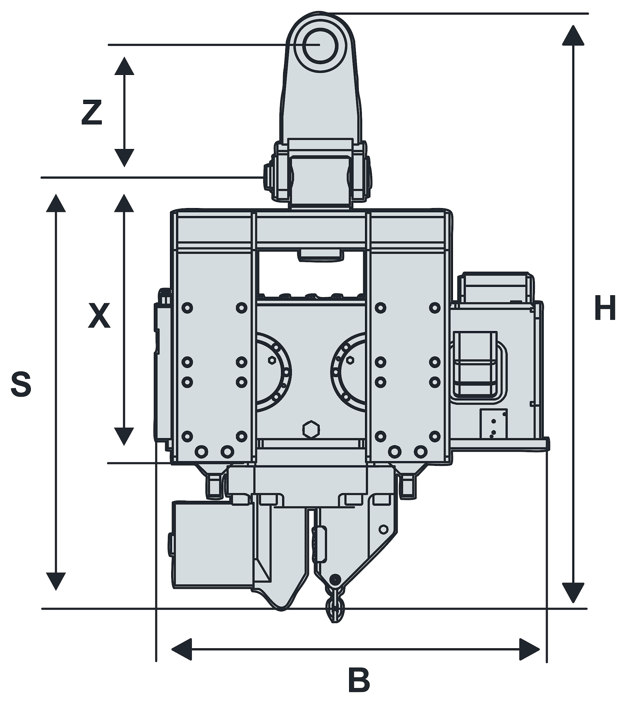
| HVR 30 | |
|---|---|
| Static moment | 3 kgm |
| Dynamic mass | 650 kg |
| Nominal revolutions | 3,000 min⁻¹ |
| Centrifugal force at nominal frequency | 300 kN |
| Static extraction force max. | 40 kN |
| Nominal oil pressure | 32 MPa |
| Hydraulic flow rate | 90 l/min |
| Hydraulic power at p max. | 50 kW |
| Total weight | 945 kg |
| Transport weight | 1,030 kg |
| Recommended weight of pile elements | 600 kg |
| Height H | 1,560 mm |
| Width B | 1,020 mm |
| Depth T | 610 mm |
| S | 1,120 mm |
| X | 740 mm |
| Z | 352 mm |
| Transport dimensions: | |
| Height h | 1,670 mm |
| Width b | 1,095 mm |
| Depth t | 660 mm |
Categories: