ABI HVR 45
Updated: 07.05.2026
| HVR 45 | |
|---|---|
| Static moment | 4.5 kgm |
| Dynamic mass | 815 kg |
| Nominal revolutions | 2,460 min⁻¹ |
| Centrifugal force at nominal frequency | 300 kN |
| Static extraction force max. | 40 kN |
| Nominal oil pressure | 32 MPa |
| Hydraulic flow rate | 130 l/min |
| Hydraulic power at p max. | 70 kW |
| Total weight | 1,160 kg |
| Transport weight | 1,240 kg |
| Recommended weight of pile elements | 1,100 kg |
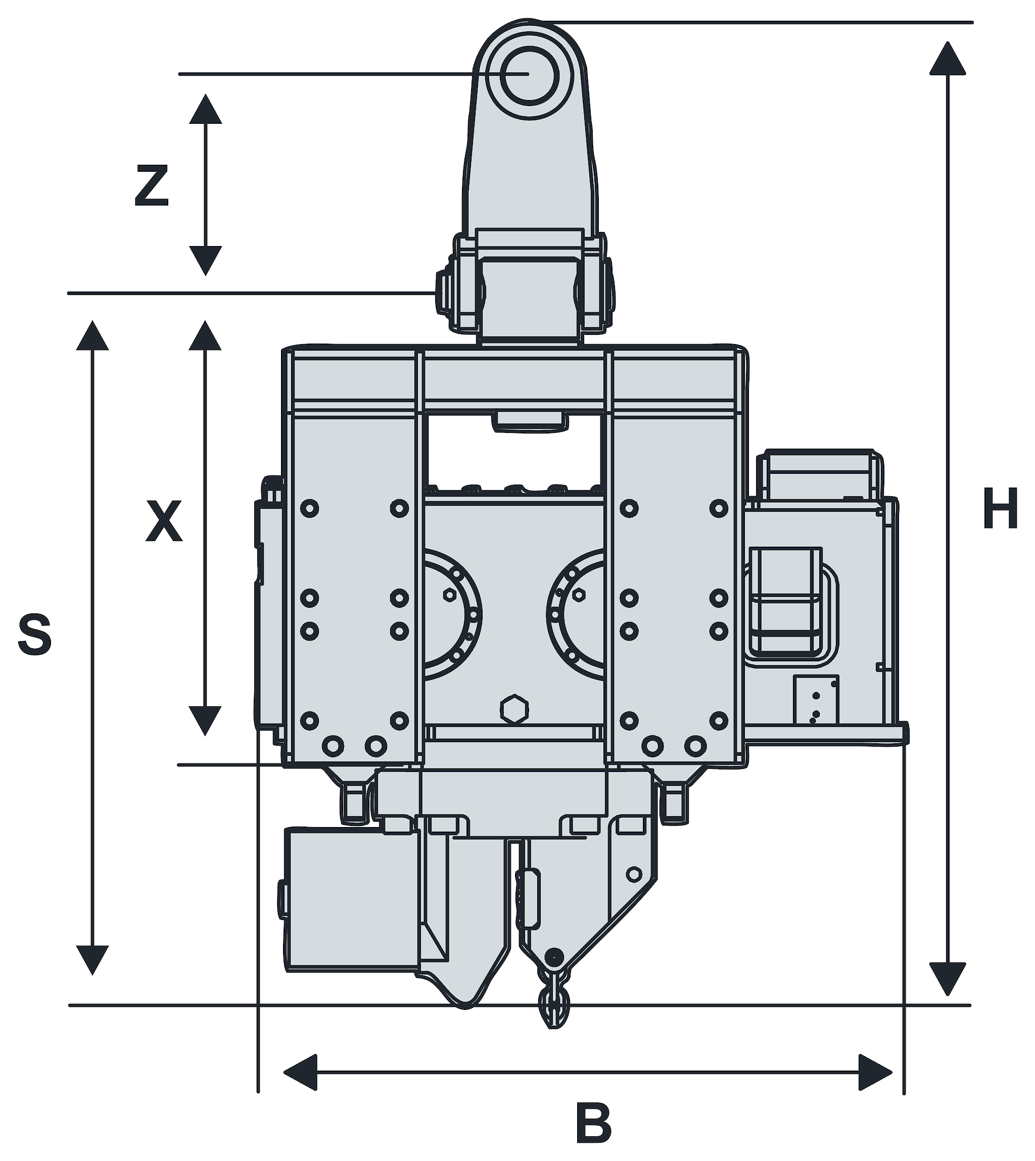
| Height H | 1,600 mm |
| Width B | 1,065 mm |
| Depth T | 615 mm |
| S | 1,160 mm |
| X | 780 mm |
| Z | 352 mm |
| Transport dimensions: | |
| Height h | 1,675 mm |
| Width b | 1,150 mm |
| Depth t | 660 mm |
Categories: